产品系列
PRODUCT CATEGORISE搪瓷塔节
产品信息
公司主要生产的搪玻璃设备有:搪玻璃新型片式冷凝器、搪玻璃管道、搪瓷碟片式冷凝器、搪瓷管道、搪瓷塔节、列管式冷凝器、螺旋板式换热器、钢衬四氟管道、搪瓷测温阀、搪玻璃设备、搪瓷设备、非标搅拌及各种非标设备等。敬请广大新老客户光临洽谈,并向多年关心我公司的新老客户致谢!
- 产品详情


1 搪瓷塔节标记为:
塔节 ①②-③④⑤⑥其中:
①——公称压力,用PN××表示,单位为兆帕(MPa);
②——公称直径,用DN××表示,单位为毫米(mm);
③——型式,用A或B表示
④——连接型式,用Ⅰ或Ⅱ表示
⑤——长度,用L表示,单位为毫米(mm);
⑥——标准号,HG/T3127
示例:
公称压力PN0.6MPa,公称直径DN1000mm,高颈法兰联接的A型搪瓷塔节、长度为2000mm塔节PN0.6DN1000-AⅡL=2000mm HG/T3127
2 技术要求
2.2 搪瓷塔节的形位公差按HG/T2637搪瓷件几何尺寸检测方法进行检测,其结果应符合表4的规定。
表4 搪瓷塔节形位公差
名称 | 公称直径 DN | |||
DN≤1000 | 1000<DN≤2000 | |||
塔节法兰平面度 | 2 | 0.2%DN | ||
塔节法兰对塔节法兰平行度 | 1%DN且不大于5 | 0.5%DN且不大于7 | ||
塔节直线度 | 0.3%L | |||
塔节法兰对塔节轴线的垂直度 | 150~250 | 300~1000 | 1100~1600 | 1750~2000 |
2.5 | 3.5 | 4.5 | 5.5 | |
3 标牌、出场文件、包装、运输和贮存
3.1 产品标牌按HG2432的有关规定。
3.2
出厂产品应有装箱单、产品合格证,质量证明书。质量证明书至少包括材料的化学成分和力学性能、公称压力、公称直径、主要尺寸和检验报告等内容。
3.3 包装、运输按HG2432的有关规定。
3.4 外露的搪瓷面必须严格保护。
3.5 产品出厂前应妥善保管,防止雨雪天气及腐蚀性介质侵蚀,一般不允许露天存放。
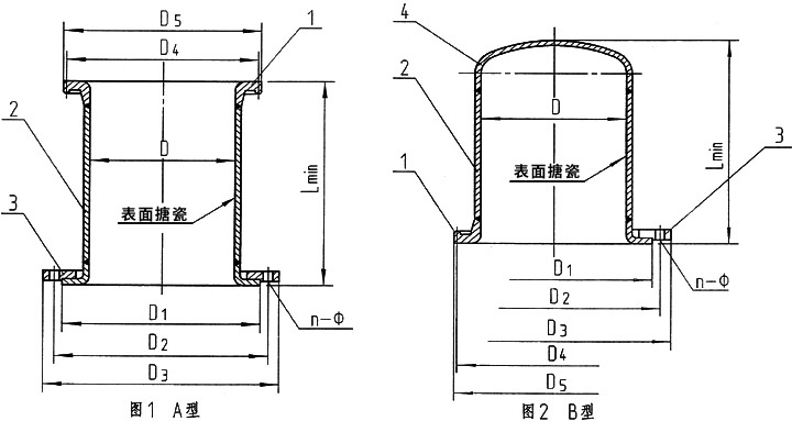
表1明细表
件号 | 标准号 | 名称 | 数量 | 材料 | 备注 |
1 | HG/T2049 | 高颈法兰 | / | 符合HG2432 | / |
2 | GB/T7996 | 塔 体 | 1 | 符合HG2432 | / |
3 | HG/T2105 | 活套法兰 | / | 符合HG/T2105 | / |
4 | JB/T4746 | 塔节封头 | 1 | 符合HG2432 | / |
表2主要尺寸
公称直径DN | D | D1 | D2 | D3 | Lmin | n-Ф |
150 | 150 | 212 | 240 | 285 | 500 | 8-22 |
200 | 207 | 268 | 295 | 340 | 500 | 8-22 |
250 | 257 | 320 | 350 | 395 | 500 | 12-22 |
300 | 303 | 370 | 400 | 445 | 500 | 12-22 |
400 | 403 | 482 | 515 | 565 | 500 | 16-26 |









